欢迎咨询黑龙江省龙科农业科技成果转移服务中心有限公司!  累计访问量:216564

您现在的位置 : 首页 > 成果转化 > 专利  

专利“青贮料用自动化打包装置发明”
距挂牌期满还有
评估值:10万元
挂牌价:10万元
挂牌开始日期:2026-03-19 00:00:00
挂牌期满日期:2026-03-25 00:00:00
地址:哈尔滨高新区科技创新城创新三路800号国际农业科技创新中心602室
电话:0451-86677487
联系人:赵老师

详细内容

青贮料用自动化打包装置发明专利简介

贮饲料是一类饲料,由含水分多的植物性饲料经过密封、发酵后而成,主要用于喂养反刍动物。青贮饲料比新鲜饲料耐储存,营养成分强于干饲料。另外,青贮饲料储存占地少,没有火灾问题,青贮饲料气味酸香、柔软多汁、适口性好、营养丰富、利于长期保存是家畜优良饲料来源。

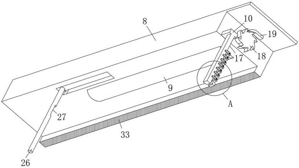
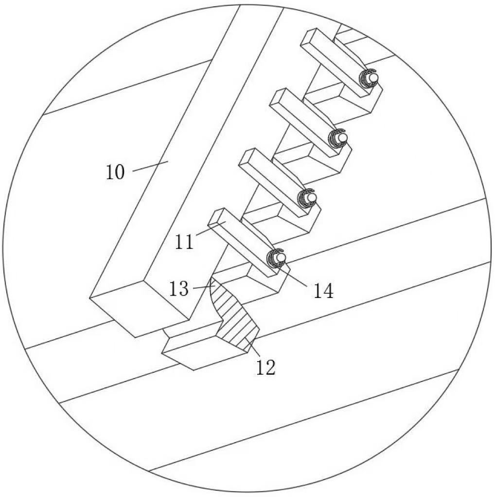
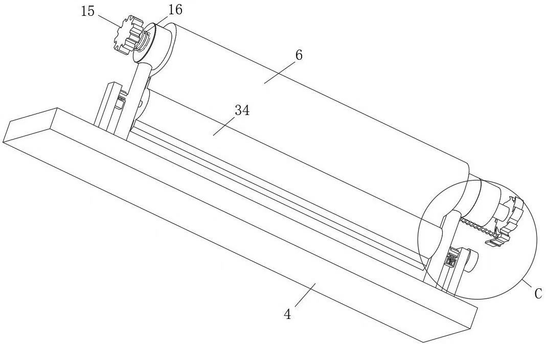
青贮饲料打包时需要用到打包装置,全自动打捆包膜一体机属于打包装置的一类,现有的全自动打捆包膜一体机在使用时,在将打包膜与全自动打捆包膜一体机上的转台连接后,当转台启动进行打包时,易出现打包膜与转台连接的一端脱落的情况,导致影响打包作业的进行。

本发明可实现在将转台与打包膜连接时,使得打包膜能更多的位于第一胶辊与转台之间的区域,使得即使出现打包膜被拉扯至与第一胶辊及第二胶辊之间产生相对滑动的情况,此时由于位于第一胶辊与第二胶辊之间的打包膜较多,因此当出现滑动时,其余的打包膜部分能继续与第一胶辊及第二胶辊保持抵触,使得能避免出现打包膜脱离第一胶辊及第二胶辊的夹持,保证整个过程的顺利进行;

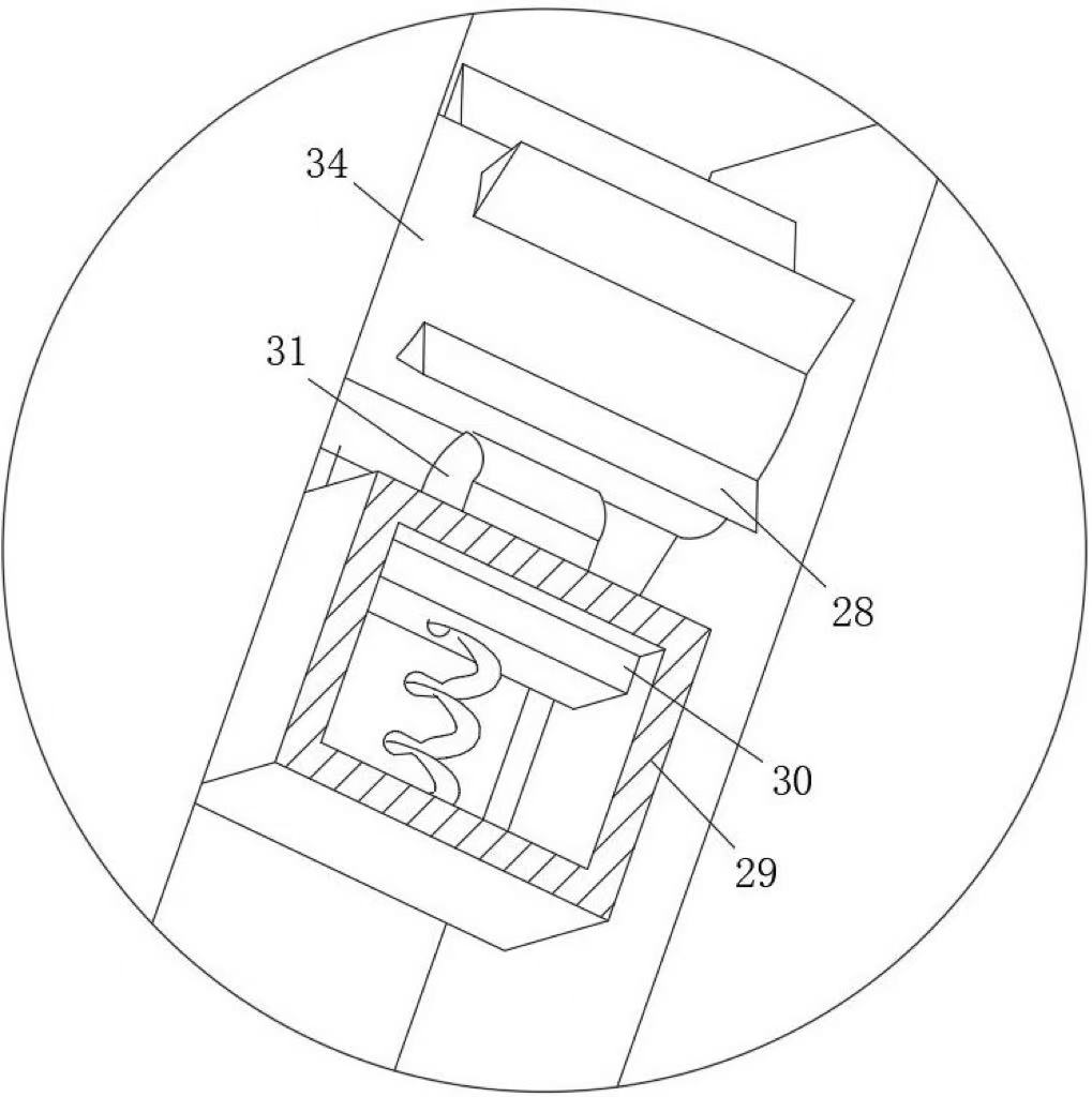
本发明可实现对第一胶辊的清理,使得第一胶辊保持洁净状态,避免第一胶辊在将打包膜向转台及第一胶辊之间的区域输送时出现打滑的情况,且可对清理第一胶辊的刮板进行清理,保证刮板的正常工作。

拟将青贮料用自动化打包装置发明专利使用权许可,拟定许可期限为自合同签订之起至2036年3月1日,拟定专利使用权许可基础价格10万元整。

地址:黑龙江省哈尔滨市高新区科技创新城创新三路800号国际农业科技创新中心602
电话:0451-86682105  0451-86677487  

CopyRight © www.lkzycqjyzx.cn , All Rights Reserved   黑龙江省龙科农业科技成果转移服务中心有限公司   版权所有    黑ICP备16008126号-4  技术支持:风腾电商 

黑龙江省龙科农业科技成果转移服务中心有限公司     黑ICP备16008126号-4