欢迎咨询黑龙江省龙科农业科技成果转移服务中心有限公司!  累计访问量:216564

您现在的位置 : 首页 > 成果转化 > 专利  

专利“一种智能化牧草切割设备发明”
距挂牌期满还有
评估值:10万元
挂牌价:10万元
挂牌开始日期:2026-03-19 00:00:00
挂牌期满日期:2026-03-25 00:00:00
地址:哈尔滨高新区科技创新城创新三路800号国际农业科技创新中心602室
电话:0451-86677487
联系人:赵老师

详细内容

一种智能化牧草切割设备发明专利简介

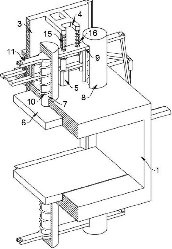
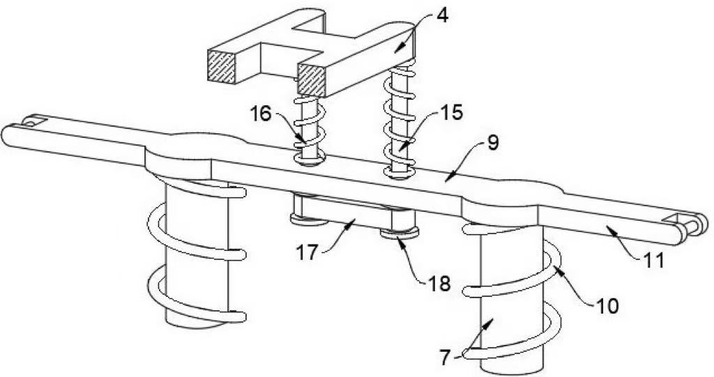
养殖业中大多数的牲畜为食草动物,因此使用的饲料比重较大也较为常见的就是草料,在向牲畜喂食牧草之前,成捆的牧草在投喂前需要对其进行处理,现有常见的就是人工对草料进行切割,这种方式切割速度较慢,在切割过程中还很容易被刀具弄伤,整个过程费时费力,切割效率低

为实现上述目的,本发明提供如下技术方案:一种智能化牧草切割设备,包括料框,所述料框后侧端开口设置为进料口,料框前侧端开口设置为出料口,且出料口内侧底部设置有斜面,所述料框顶部设置有切口,且切口内部插接有切刀,所述切刀底端通过切口进入到料框内部,所述切刀顶端后侧面固定有支架,所述料框顶面安装有气缸,所述气缸顶部输出端连接支架底面,牧草原料通过进料口进入到料框内部,气缸工作利用支架带动切刀在切口内部上下移动,上下移动的切刀对牧草原料进行切割,切割后的牧草原料通过斜面掉出料框的出料口

一种智能化牧草切割设备,包括料框,所述料框后侧端开口设置为进料口,料框前侧端开口设置为出料口,且出料口内侧底部设置有斜面,所述料框顶部设置有切口,且切口内部插接有切刀,所述切刀底端通过切口进入到料框内部,所述切刀顶端后侧面固定有支架,所述料框顶面安装有气缸,所述气缸顶部输出端连接支架底面,牧草原料通过进料口进入到料框内部。本发明通过两个架板夹持料框内侧的牧草原料后,利用上下移动的切刀切割夹持的牧草原料,保证牧草原料切割的快捷性,且上下移动的切刀不会接触到工作人员,从而保护工作人员。

拟将一种智能化牧草切割设备发明专利使用权许可,拟定许可期限为自合同签订之起至2036年3月1日,拟定专利使用权许可基础价格10万元整。

地址:黑龙江省哈尔滨市高新区科技创新城创新三路800号国际农业科技创新中心602
电话:0451-86682105  0451-86677487  

CopyRight © www.lkzycqjyzx.cn , All Rights Reserved   黑龙江省龙科农业科技成果转移服务中心有限公司   版权所有    黑ICP备16008126号-4  技术支持:风腾电商 

黑龙江省龙科农业科技成果转移服务中心有限公司     黑ICP备16008126号-4