欢迎咨询黑龙江省龙科农业科技成果转移服务中心有限公司!  累计访问量:216564

您现在的位置 : 首页 > 成果转化 > 专利  

专利“弹性软管挤排式类球形种粒条播排种器”
距挂牌期满还有
评估值:12万元
挂牌价:12万元
挂牌开始日期:2025-12-24 00:00:00
挂牌期满日期:2025-12-30 00:00:00
地址:哈尔滨高新区科技创新城创新三路800号国际农业科技创新中心602室
电话:0451-86677487
联系人:赵老师

详细内容

弹性软管挤排式类球形种粒条播排种器

成果研发背景及特征简介

一、研发背景

排种器作为播种机的“心脏”,其性能直接决定了农作物出苗的质量与最终产量。目前,在我国主要农作物的条播作业中,外槽轮式排种器因其结构简单、成本低廉、调节方便等优点,已持续应用数十年,至今仍是市场绝对主流。同时,其衍生结构也在条状施肥作业中广泛应用。然而,随着现代农业向精准化、高效化和多元化方向发展,现有排种技术体系已显现出明显的局限性,亟需研发基于新原理、新结构的新型条播排种器以满足日益增长的农艺需求。

窝眼式排种器与勺轮式排种器主要适用于穴播或精量点播作业,因其对种子尺寸要求苛刻、易伤种、难以实现连续均匀的条播,无法满足条播的农艺要求。而占据主导地位的外槽轮式排种器,其工作原理依赖于机械强制刮送,存在固有的技术缺陷:伤种率高播种均匀性不稳定适应性受限难以实现快速精准适配。因此,研发一种工作机理独特、能有效克服其固有缺点、专用于类球形种子条播作业的新型排种器,不仅对提升我国条播作业质量具有重要的现实意义,也契合农业机械化技术升级的必然趋势。

基于上述背景,研发了一种弹性软管挤排式类球形种粒条播排种器。该排种器利用类球形种粒良好的流动性能,采用滚轮对充入类球形种粒的圆弧形弹性软管的挤排输送和排种结构完成对类球形种粒的条播排播作业,具有结构新颖、独特、合理、条播作业质量好、作业效率高、适用类球形种粒能力强的特点,为机械类农作物排种器开辟了一种全新理念的结构方案。

二、特征简介

本发明创造的目的就是针对上述现有技术存在的问题,结合农作物条播机械化作业使用的实际需要,研发一种弹性软管挤排式类球形种粒条播排种器,通过挤排式输送及排种原理,达到结构新颖、独特、合理、对类球形种粒适用能力强、条播作业质量好、作业效率高的目的。

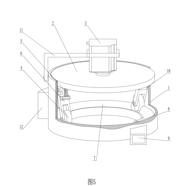
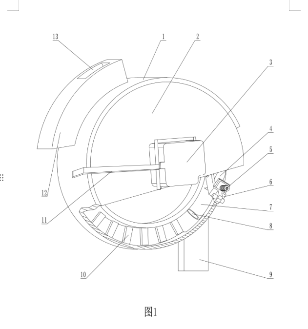
本发明创造的目的是这样实现的:在圆槽形壳体底壁内壁面同半径部位上沿圆周方向依次安装圆弧形弹性软管和震动块,在所述圆弧形弹性软管的进种端管壁部位上开设进种口,所述圆弧形弹性软管进种端端头封闭,落种口设置在圆弧形弹性软管的排种端端头上,在所述圆槽形壳体圆周侧壁外壁面上依次相对配装盛种箱和导种管,填种口和出种口开设在盛种箱上,所述出种口与进种口连通,所述导种管与落种口连通;在圆槽形壳体侧壁上通过电机架固装电机,动力圆盘固装在电机的电机轴上,所述动力圆盘与圆槽形壳体同轴心的配置在圆槽形壳体槽腔内,在所述动力圆盘内侧端面上、

位于圆槽形壳体槽腔内固装摆动限位架,轮架可往复摆动地铰连安装在摆动限位架上,压簧配置在动力圆盘与轮架之间部位处,所述压簧的两端分别与动力圆盘和轮架呈挤压接触配合,滚轮安装在轮架上,所述滚轮依次分别与圆弧形弹性软管和震动块呈挤压接触配合或脱离挤压接触配合,至此构成弹性软管挤排式类球形种粒条播排种器。

拟将该专利许可,拟定许可期限为合同签订之日起2027年12月31日,拟定许可价格为12万人民币。

地址:黑龙江省哈尔滨市高新区科技创新城创新三路800号国际农业科技创新中心602
电话:0451-86682105  0451-86677487  

CopyRight © www.lkzycqjyzx.cn , All Rights Reserved   黑龙江省龙科农业科技成果转移服务中心有限公司   版权所有    黑ICP备16008126号-4  技术支持:风腾电商 

黑龙江省龙科农业科技成果转移服务中心有限公司     黑ICP备16008126号-4