欢迎咨询黑龙江省龙科农业科技成果转移服务中心有限公司!  累计访问量:216595

您现在的位置 : 首页 > 成果转化 > 专利  

专利“低破碎率除杂型的水稻脱粒机”
距挂牌期满还有
评估值:10万元
挂牌价:10万元
挂牌开始日期:2025-09-12 00:00:00
挂牌期满日期:2025-09-19 00:00:00
地址:哈尔滨高新区科技创新城创新三路800号国际农业科技创新中心602室
电话:0451-86677487
联系人:赵老师

详细内容

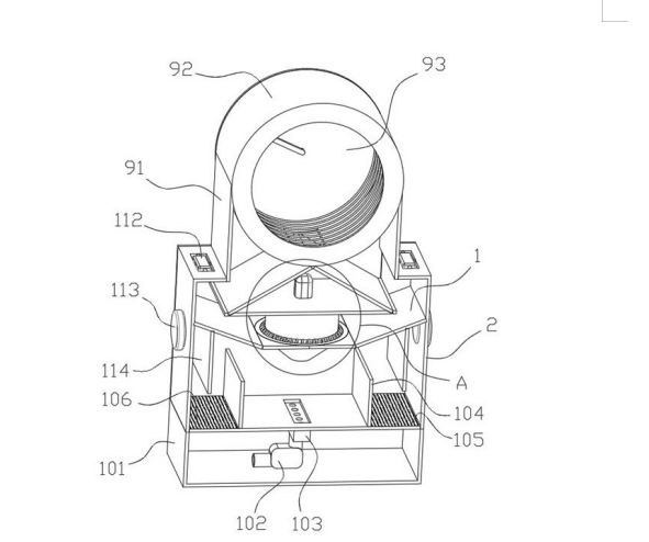
低破碎率除杂型的水稻脱粒机

成果研发背景及特征简介

一、研发背景

脱粒机为收割机械,指能够将籽粒与茎秆分离的机械,主要指粮食作物的收获机械,适用于水稻脱粒的机械为“打稻机”,俗称“打谷机”,现有技术中,常见的打谷机大都采用梳刷脱粒法进行水稻脱粒,如2022年05月31日公开的中国实用新型专利“一种高效水稻脱粒机”(授权公告号:CN216626708U),型包括底座,底座上方设置有打料室,打料室内部设置有辊轴,辊轴表面设置有凸刺,打料室上方设置有防护罩,辊轴一侧位于打料室外部设置有电机,防护罩正面设置有放置板,放置板上方设置有夹板;该装置通过辊轴转动带动凸刺同步旋转,使用者将水稻束的稻穗位置搭在辊轴的顶部,在辊轴带动凸刺旋转的过程中,凸刺插入水稻束中,将生长于稻穗位置的籽粒梳下,进而完成对水稻的脱粒作业。

然而,由于辊轴高速旋转,常见的用于脱粒的凸刺又为刚性材料,因此,在该装置进行水稻脱粒作业时容易击碎水稻籽粒,存在脱粒破碎率高的缺陷。

二、特征简介

低破碎率除杂型水稻脱粒机,以弹性脱粒齿搓擦脱粒降低籽粒破碎率,通过绞碎模块与导向板保障物料高效输送,还配备除杂模块(水流冲洗除杂)和烘干模块(防霉变),全方位提升脱粒质量、效率与稻谷储存条件。

1、低破碎率脱粒设计:采用独特的搓擦式脱粒方式,脱粒筒内腔与脱粒凸台底部,分别均匀设有由弹性材料制成的第一、第二脱粒齿 。工作时,二者相互滑动,对绞碎后的稻穗碎片进行轻柔搓擦,取代传统刚性部件的强力冲击,极大降低籽粒破碎风险,保证稻谷完整性,提升谷物品质 。

2、高效绞碎与输送衔接:顶部的绞碎模块能快速将水稻束稻穗绞碎成碎片,其输出端与承载壳体内腔连通,并与一对倾斜的脱粒导向板精准衔接。导向板将稻穗碎片顺畅导向承载板,确保物料输送连贯,为后续脱粒环节高效供料 。

3、完善的除杂与烘干功能:除杂模块通过巧妙的水箱、水泵、分流器等结构设计,利用水流冲洗和物理分隔,有效分离稻谷颗粒中的杂质 ,提升纯净度;烘干模块则借助气泵、加热器等,对稻穗碎片及时烘干,防止潮湿霉变,为稻谷储存和后续加工创造良好条件 。

综上所述,ZL202310440137.8低破碎率除杂型的水稻脱粒机通过弹性齿搓擦脱粒设计降低籽粒破碎率以提升稻谷价值,集成绞碎、除杂、烘干功能减少作业环节并降本提效,同时解决传统设备痛点,且适配中小种植主体,降低机械化门槛,助力农业高效生产。


地址:黑龙江省哈尔滨市高新区科技创新城创新三路800号国际农业科技创新中心602
电话:0451-86682105  0451-86677487  

CopyRight © www.lkzycqjyzx.cn , All Rights Reserved   黑龙江省龙科农业科技成果转移服务中心有限公司   版权所有    黑ICP备16008126号-4  技术支持:风腾电商 

黑龙江省龙科农业科技成果转移服务中心有限公司     黑ICP备16008126号-4