欢迎咨询黑龙江省龙科农业科技成果转移服务中心有限公司!
累计访问量:216648
返回首页
关于我们
成果转化
新闻中心
成功案例
成果推介
联系我们
返回首页
关于我们
成果转化
新闻中心
成功案例
成果推介
联系我们
成果转化
进行中
已完成
未开始
专利
您现在的位置
:
首页
>
成果转化
> 专利
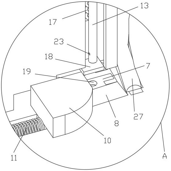
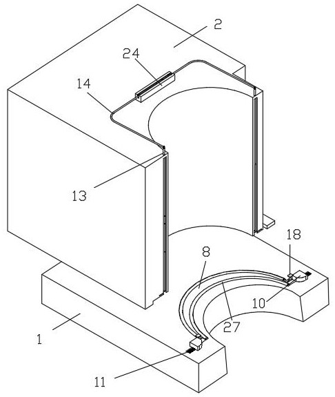
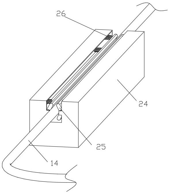
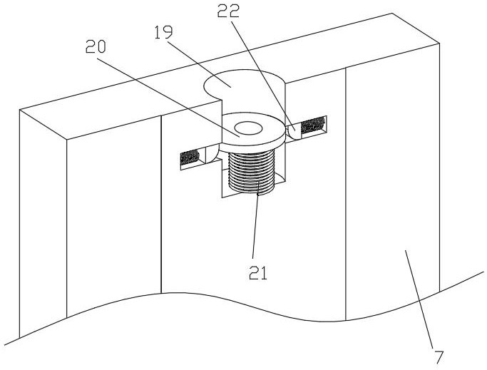
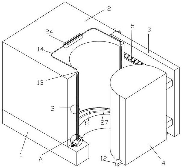
马铃薯病害抗性鉴定茎基部病斑面积测量装置
距挂牌期满还有
天
评估值:
10
万元
挂牌价:
10
万元
挂牌开始日期:2025-06-19 00:00:00
挂牌期满日期:2025-06-25 00:00:00
地址:哈尔滨高新区科技创新城创新三路800号国际农业科技创新中心
电话:045186677487
联系人:赵老师
详细内容
返回首页
关于我们
成果转化
新闻中心
成功案例
成果推介
联系我们
地址:黑龙江省哈尔滨市高新区科技创新城创新三路800号国际农业科技创新中心602
电话:0451-86682105 0451-86677487
CopyRight © www.lkzycqjyzx.cn , All Rights Reserved 黑龙江省龙科农业科技成果转移服务中心有限公司 版权所有
黑ICP备16008126号-4
技术支持:风腾电商
黑龙江省龙科农业科技成果转移服务中心有限公司
黑ICP备16008126号-4