研发简介
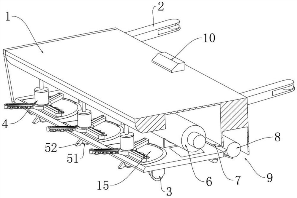
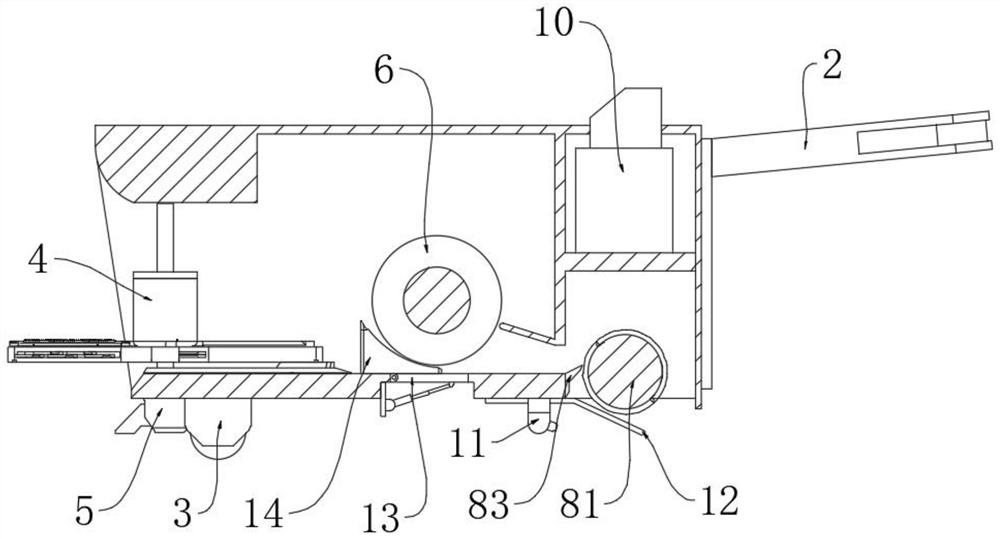
本发明提供了一种用于秸秆收集粉碎还田的装置,以解决现有技术中提出的秸秆需要集中粉碎、残留根部影响作物种植和粉碎过程可靠性差的问题。该用于秸秆收集粉碎还田的装置,通过连接部与用于在田地间行进的车辆相连,优选将其连接在车体行进方向的前侧,如此,在车辆行进的过程中,能够通过本装置中的收割机构对其前方处于站立状态的玉米秸秆进行收割,简化整体收割步骤,缩短秸秆处理工序与时长,节约劳动力,本装置在对其进行收割的同时进行秸秆粉碎还田处理。本装置还设置有根部处理结构,保证设备在对秸秆处理的同时,还能够将秸秆的根部进行同步粉碎处理,使得整体的还田效果更加理想,无秸秆根部的田地有助于后续其他作物的种植。
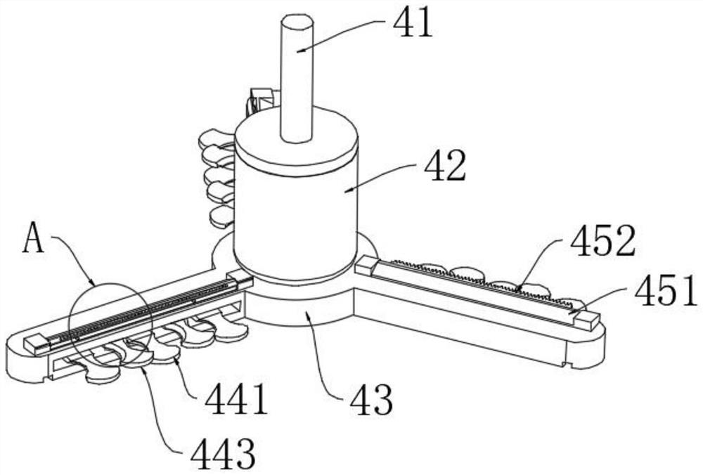
本装置通过进料组件、切割组件以及导向组件之间的相互配合作用,能够在短时间的收割流程中分别完成对秸秆的水平切割、定向倾倒以及固定导向的进料效果,各组件之间的联动性好,各个秸秆处理过程契合高,充分满足秸秆回收处理的多种需求。
应用
本装置主要应用于玉米秸秆的高效收集、粉碎与还田处理,可与农机前端连接,随车作业过程中实现对站立秸秆的收割、粉碎及根部同步处理,显著简化作业流程,提升田间作业效率,降低人工投入。
市场前景
在秸秆禁烧政策全面推行及农业绿色转型加速的背景下,秸秆资源化利用设备需求迅速增长。本装置集多功能、高效率、环保性于一体,契合国家对可持续农业和生态农业的战略要求。随着农业机械更新换代和农民对高效农机装备需求的不断提升,该装置具备良好的市场适应性和发展潜力,未来将在粮食主产区及现代农业示范区等场景中发挥重要作用,市场前景广阔



